Gasly: Remélhetőleg olyan meglepetést okozunk majd, mint annak idején a Brawn GP

2022-01-11 02:03
Nagyon várja már a február végén kezdődő előszezoni tesztelést az AlphaTauri Forma-1-es csapatának versenyzője, Pierre Gasly. A francia pilóta abban bízik, képesek lesznek olyan nagy meglepetést okozni, mint 2009-ben a Brawn GP. The post Gasly: Remélhetőleg olyan meglepetést okozunk majd, mint annak idején a Brawn GP appeared first on F1VILÁG.HU.
részletek

Alonso: Óriási luxus, hogy visszatérhettem a Forma-1-be

2022-01-11 02:03
Rendkívül szerencsésnek érzi magát a Forma-1 kétszeres világbajnoka, Fernando Alonso, hogy kétévnyi kihagyás után tavaly visszatérhetett a száguldó cirkuszba. The post Alonso: Óriási luxus, hogy visszatérhettem a Forma-1-be appeared first on F1VILÁG.HU.
részletek

Perez elárulta, miért volt nehéz felvenni a tempót a Red Bullnál

2022-01-11 02:03
Lassan tudott csak alkalmazkodni a Red Bull versenyautójához Sergio Perez, 2021-ben ugyanis nagyon kevés tesztlehetősége volt a Forma-1-es mezőnynek, ráadásul a szabadedzések is rövidebbek lettek. The post Perez elárulta, miért volt nehéz felvenni a tempót a Red Bullnál appeared first on F1VILÁG.HU.
részletek

Bottas szerint szép jövő vár a Williamsre, ő mégis az Alfa Romeót választotta

2022-01-11 02:03
Valtteri Bottas elárulta, lehetősége lett volna arra, hogy visszatérjen a Williams Forma-1-es csapatához, ő azonban úgy gondolta, az Alfa Romeo jobb lehetőséget jelent számára a következő évekre. The post Bottas szerint szép jövő vár a Williamsre, ő mégis az Alfa Romeót választotta appeared first on F1VILÁG.HU.
részletek

Elégedett a 2022-es fejlesztésekkel a McLaren csapatfőnöke

2022-01-11 02:03
Elégedett a 2022-es versenyautó fejlesztésével a McLaren csapatfőnöke, habár azt természetesen Andreas Seidl sem tudja megmondani, hogy az előttünk álló idényben mire lesznek képesek. The post Elégedett a 2022-es fejlesztésekkel a McLaren csapatfőnöke appeared first on F1VILÁG.HU.
részletek

Räikkönen: Talán többet be sem teszem a lábam az F1-es paddockba!

2022-01-11 02:03
A Forma-1 2007-es világbajnoka, Kimi Räikkönen azt mondja, könnyen lehet, hogy többé be sem teszi majd a lábát a paddockba. A finn pilóta a tavalyi szezont követően intett búcsút a száguldó cirkusznak, ami saját bevallása szerint soha nem a legfontosabb volt életében. The post Räikkönen: Talán többet be sem teszem a lábam az F1-es paddockba! appeared first on F1VILÁG.HU.
részletek

Kamu-e az Atlanti-óceán autós átszelése?

2022-01-11 00:04
Amit állítanak: két olasz cimbora autóból épített hajókkal szelte át az Atlanti-óceánt 1999-ben.
részletek

Bemutatták a Hyundai új, hibrid raliautóját

2022-01-11 00:04
Ez is az i20-ason alapul, de állítólag annyira új konstrukció, amennyire csak lehetséges.
részletek

Bezár a Drivetribe, az autós világ Facebookja

2022-01-11 00:03
A három eredeti Top Gear-es arc alapította, de öt év után, január végén kénytelenek lehúzni a rolót.
részletek

A Volvo egyelőre nem ereszti el a személyautókat

2022-01-11 00:03
Állítólag már dolgoznak az S és V sorozatú modellek utódain, amelyek az ígéretek szerint érdekesebbek lesznek.
részletek

Még mindig kemény az RS? - Fotelnepper: Renault Mégane II RS – 2004.

2022-01-11 00:02
Mostani gazdája vásárolta 2004-ben újként a 225 lovas Mégane-t, de időközben eltelt 17 év.
részletek

Pénzmágnes a piros Porsche Carrera GT

2022-01-10 13:03
Kevés kilométer, ritkaság, a jövő egyik legendája. Nem is lesz olcsóbb soha többé.
részletek

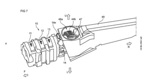
Hátsókerék-hajtású hibrid Wankel-Mazda jön?

2022-01-10 13:03
Egy ilyen konfigurációt szabadalmaztatnak épp Európában, bár kérdéses, hogy gyártásba megy-e.
részletek

Mennyi fa van az autók fabetétjében?

2022-01-10 13:03
Amit látsz, az jó ha megvan egy milliméter. De kétujjnyi vastag deszkákkal sem járnál jobban.
részletek

Citroenből és Jeepből gyúrt SUV: Haval Hűvös Kutya

2022-01-10 13:03
Nem szokatlan, hogy a Haval nyúlja a dizájnt: van itt Citroen C5 Aircross, Jeep és egy kis Bigster is.
részletek