Toggle navigation
Aktuális hírek
Gazdaság
Belföld
Ingatlan
Kultúra
Sport
Autó-Motor
Egészség
Lifestyle
Szórakozás
Autó-motor
Itt az év első Totalcar-tréningje, már most jelentkezz!
2022-04-17 18:06
Április 23-án lesz az idei első Totalcar Tréning, ahol jobb vezetővé válhatsz.
részletek
Életveszélyesen előzött a kamionnal záróvonalon
2022-04-17 18:06
Nem zavarta a többi közlekedő, még a szemből érkezőt is az útpadkára kényszerítette.
részletek
Brutális frontális ütközés mutatja, milyen biztonságosak ma az autók
2022-04-17 18:05
Adrian Lund évtizedekig foglalkozott azzal, hogy biztonságosabbak legyenek az autók. Az eredményt maga tapasztalta meg.
részletek
A Porsche-fanatikusok monitorja
2022-04-17 18:05
Az AOC gyártja, de a talpát a sportautók kormányküllői ihlették.
részletek
Belustult a dízel Civic, de mi lehet az oka?
2022-04-17 18:05
Lustábbá vált a Civic, megnézettem. Elvben a pumpa a hunyó, de lehetnek-e más jelöltek is?
részletek
Zöld utat kapott a kézi váltós Supra
2022-04-17 18:04
Nem mintha automatával nem lenne élvezhető, de ennek a hírnek azért sokan örülnek.
részletek
Töltés közben égett ki egy hibrid BMW Budapesten
2022-04-17 18:04
A 330e állítólag a töltőcsatlakozónál kapott lángra. A tűzoltók gyorsan eloltották, de a kár így is komoly.
részletek
40 kilométer 200 forintból
2022-04-17 18:04
Keresd meg a 10 különbséget! A kék sarokban egy kívánatos kis Peugeot, a sárgában egy tisztességes Opel.
részletek
Ezek a műszaki megoldások tették naggyá a Ferrarit - Ferrari technikai csemegék 1. rész
2022-04-17 18:04
Pályafutásának 75 éve alatt számtalan különleges műszaki megoldással jelentkezett utcai használatra szánt autóiban is a Ferrari. Összeszedtük a szerintünk legfontosabbakat. Első rész.
részletek
Lekéste a buszt, gyalog ment fel az autópályára
2022-04-17 18:04
A lehajtó felől ment fel a pályára, aztán tétován fel-alá sétálgatott a férfi.
részletek
Benzines kompaktot vennék, mit adnak 3 milláért?
2022-04-17 18:03
6-8 éves, ötajtós kompakt a cél. Astra legyen vagy Focus?
részletek
Az Eufória csinos színésznője maga újította fel 1969-es Ford Broncóját
2022-04-17 18:03
Sydney Sweeney rajong az autókért, és némi iránymutatás mellett neki is mert állni.
részletek
Óriási bukás lett a jövő kamionja - Szerelem: Steinwinter Supercargo
2022-04-17 18:03
Sportautós vezetési élményt, alacsony fogyasztást és rekord méretű rakteret ígértek - ebből jó, ha egyet be tudtak tartani.
részletek
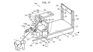
Ha még kutyát sétáltatni is lusta vagy, a Toyota segít
2022-04-17 18:03
A japánok önvezető járműve megoldja helyetted, és még a kutyagumit is összeszedi.
részletek
Máltai veteránok múzeumban és forgalomban
2022-04-17 18:02
Meglepően sok érdekes autót rejt a szigetország.
részletek
|<
<<
1768
1769
1770
1771
1772
1773
1774
1775
1776
>>
>|
Heti24.hu